Агрегат торкретирования
Новинка
Агрегат предназначен для нанесения огнеупорных торкрет‑смесей методом мокрого торкретирования при ремонте и футеровке коксовых печей. Обеспечивает формирование плотного, адгезивного слоя огнеупорного бетона на поверхностях камер коксования.
Агрегат торкретирования
#PROP_TITLE#
—
#PROP_VALUE#
Аппарат предназначен для нанесения огнеупорных торкрет‑смесей методом мокрого торкретирования при ремонте и футеровке коксовых печей. Обеспечивает формирование плотного, адгезивного слоя огнеупорного бетона на поверхностях камер коксования.
Технические характеристики:
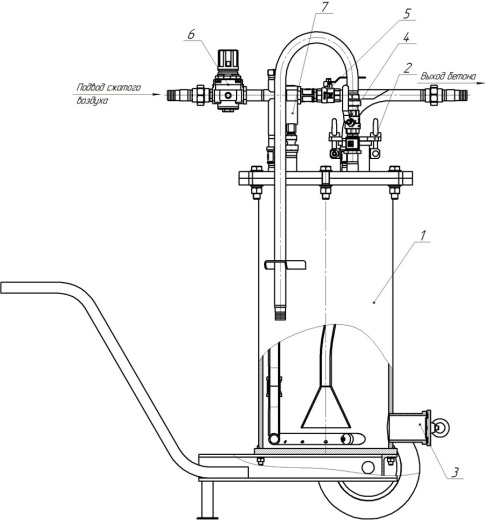
Состав аппарата для торкретирования:
1. Растворный бак.
2. Заливная горловина.
3. Люк для быстрой очистки бака.
4. Кран шаровой.
5. Кран шаровой.
6. Редуктор давления.
7. Манометр.
Состав поставляемого оборудования:
Технические характеристики:
| № | Наименование параметра | Значение |
| 1 | Номинальное давление, МПа | 0,5 |
| 2 | Номинальное давление сжатого воздуха, МПа | 0,5 |
| 3 | Расход воздуха, не менее м3/мин | 5 |
| 4 | Объём растворного бака, л | 47 |
| 5 | Максимальная фракция заполнения, мм | 2 |
| 6 | Толщина слоя за проход, мм | 1-5 |
| 7 | Диаметр подающего рукава, мм | 25 |
| 8 | Дальность подачи смеси: | |
| 8.1 | Горизонтально, м | до 30 |
| 8.2 | Вертикально, м | до 15 |
| 9 | Масса аппарата, кг | 130 |
Состав аппарата для торкретирования:
1. Растворный бак.
2. Заливная горловина.
3. Люк для быстрой очистки бака.
4. Кран шаровой.
5. Кран шаровой.
6. Редуктор давления.
7. Манометр.
Состав поставляемого оборудования:
| № | Наименование оборудования | Кол. |
| 1. | Аппарат для торкретирования (АТ) шт. | 1 |
| 2. | Направляющая для раствора шт. | 1 |
| 3. |
Рукав резинотканевый 25-35-16 м. ГОСТ 10362-76 |
35 |
| 4. | Хомут червячный, шт. | 10 |
| 5. | Уплотнение резиновое G3/4, шт. | 2 |
| 6. | Кольцо 350-360-58-2-2 ГОСТ 9833-73 | 1 |
| 7. | Прокладка 3х70х46 | 4 |
| 8. | Редуктор давления, шт. | 1 |
Вам может понравиться
#PROP_TITLE#
#PROP_VALUE#

